Vráti GM do hry dvojtakt? Prichádza s novinkou

Zdalo sa, že dvojtaktné motory sú v autách definitívne históriou. Najmä kvôli emisiám. GM však verí, že pomocou nových technológií by mohli zažiť renesanciu. Americký gigant si dal chrániť patent, ktorý otvára cestu čistejším dvojtaktom.

04.12.2025 14:00
Achates Power - revolučný dvojtakt Foto:
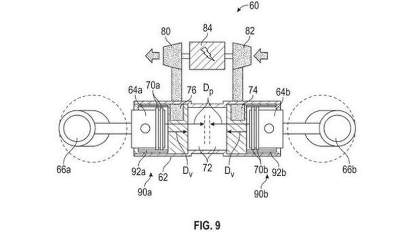
Nový dvojtakt v podaní GM má nielen systém na zatváranie výfukových otvorov medzi piestom a stenou valca, ale aj nezvyčajnú koncepciu usporiadania. Dva piesty sa pohybujú proti sebe v jednom valci. (ilustračná snímka)
debata (1)

Dvojtaktné motory sú dnes až na výnimky minulosťou. Poháňajú ešte kde-tu motorové člny, kosačky, motocykle, motorové píly a v dieselových verziách veľké zaoceánske lode. Pod kapotami osobných áut ich už ale nenájdete. So štvortaktmi prehrali boj na plnej čiare kvôli vysokej spotrebe a emisiám. Bude to tak ale navždy? Napriek všetkým nedostatkom majú totiž stále príliš lákavé výhody. Na rozdiel od 4-taktov napríklad každú jednu otáčku kľukového hriadeľa jeden pracovný takt, čo znamená, že výkon poskytujú plynulejšie. Zaobídu sa tiež bez akéhokoľvek ventilového rozvodu, čo ich robí jednoduchšími, spoľahlivejšími a oveľa lacnejšími. Nie je ich teda škoda?

Achates Power - motor s protibežnými piestmi Čítajte viac Neuveriteľné: Američania pracujú na vznetovom dvojtakte spaľujúcom benzín

General Motors, jeden z najväčších výrobcov áut na planéte, si myslí, že ešte nemusia byť úplne na odpis. Naznačuje to patent, ktorý rieši jednu ich Achillovu pätu – obmedzené časovanie. Namiesto ventilov poháňaných vačkovým hriadeľom sa totiž spoliehajú len na otvory v stenách valcov pre výmenu plynov, pričom piest tieto otvory blokuje v určitých fázach spaľovacieho cyklu. Lenže existuje aj fáza, keď sú otvorené nasávacie aj výfukové otvory, čím nespálené uhľovodíky po expanzii unikajú do atmosféry cez výfuk. A práve tam mieri patent GM. Jeho kľúčovým prvkom je elektronicky ovládaný pohyblivý ventil medzi piestom a stenou valca.

Nový dvojtakt by dostal úlohu predlžovača... Foto: General Motors
GM - patent pre nový dvojtaktný motor 2025 Nový dvojtakt by dostal úlohu predlžovača dojazdu v elektromobiloch. Svedčalo by mu to, pretože je mimoriadne jednoduchý a kompaktný.

Vďaka nemu by bolo možné presnejšie uzatvorenie výfukových otvorov, a to nezávisle od pohybu piestu. Elektromechanické ovládanie znamená, že čerstvá zmes alebo vzduch môžu byť potom dávkované oveľa presnejšie, čo dramaticky znižuje emisie a zvyšuje účinnosť. Ďalšou zaujímavosťou, ktorá sa v patentových materiáloch objavuje, je koncept dvoch piestov pohybujúcich sa proti sebe v jednom valci, pričom každý piest má vlastný kľukový hriadeľ. Táto koncepcia znižuje vibrácie a otvára nové možnosti, nielen pre vyšší výkon pri rovnakom zdvihovom objeme, ale aj lepšiu kontrolu mazania.

Mazda - motor SkyActiv-X 2017 Čítajte viac Mazda vyvíja revolučný dvojtakt! Je to vôbec možné?

General Motors si však nepredstavuje nasadenie nového dvojtaktného motora v úlohe hlavnej pohonnej jednotky. Dáva mu skôr šancu v podobe generátora v elektromobiloch, teda v úlohe predlžovača dojazdu. To by znamenalo, že takýto motor môže pracovať len v optimálnom spektre otáčok a vyhnúť sa spektru, pri ktorom je málo efektívny a produkuje zbytočne veľa emisií. Zároveň to však nevylučuje, že v určitých režimoch by mohol byť motor, napríklad pri vyšších rýchlostiach, spojený priamo s kolesami, ako to robia napríklad hybridy Hondy alebo viaceré čínske plug-in hybridy.

Aj tak ale veľa šancí novému dvojtaktu nedávame. Vyriešiť by bolo treba omnoho viac, najmä oddelenie mazacieho a spaľovacieho okruhu, aby sa v zmesi benzínu a vzduchu nenachádzal žiaden olej, ktorého spaľovanie znamená ďalšie zhoršenie emisií.

© Autorské práva vyhradené

Facebook X.com 1 debata chyba Newsletter
Viac na túto tému: #GM #General Motors #dvojtaktný motor
Sledujte Pravdu na Google news po kliknutí zvoľte "Sledovať"
Články podľa značiek